Category Archives: Video Delivery

System and Method for Creating and Managing Individual Users for Personalized Television on Behalf of Pre-Existing Video Delivery Platforms

img_solutions1A system and method are provided for enabling members of a television viewing location to generate user profiles on behalf of a video middleware system. The method comprises intercepting data exchanged between an end user apparatus and the video middleware system; processing the data to generate either first processed data in a first format familiar to a user lifecycle management system, or second processed data in a second format familiar to the video middleware system; and providing either the first processed data to the user lifecycle management system, or the second processed data to the video middleware system. Read more

UXP Systems Inc. , Toronto, ON http://www.uxpsystems.com/

No. of patent applications: 4

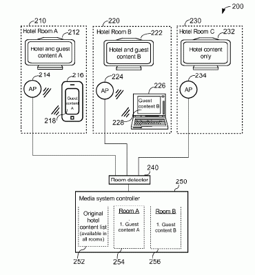
Method of Integrating Content on a Guest Device with a Hospitality Media System

A method of integrating content with a hospitality media system having a plurality of media devices in a plurality of rooms. Each room has one or more in-room media devices located therein for performing a media function. A user of a room is allowed to establish data communications between the hospitality media system and a guest device. Guest content available on the guest device is catalogued to thereby form a guest content list.

Guest-Tek Interactive Entertainment Ltd. , Calgary, AB   http://www.guest-tek.com

No. of patent applications: 2

 

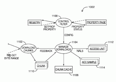
Methods and Systems for Scalable Video Chunking

Methods and systems for creating and retrieving scalable media files using a chunking model. A plurality of network abstraction layer (NAL) units representing a scalable media presentation are grouped into a plurality of video chunks wherein each chunk represents only the NAL units of one layer and a specific time period. The plurality of video chunks are then stored in one or more scalable media files along with indexing information which provides information for retrieving the NAL units from each video chunk. In this manner, a client can request only the video chunks (and thus NAL units) that it needs or wants to achieve a specific bandwidth. Read more

 SeaWell Networks Inc. Mississauga, ON   http://www.seawellnetworks.com

No. of patent applications: 1